
在廉价养分土市集里,“花栖湖”、“花香泥”和“小旷野艺”三大品牌占据了较大份额开云体育,在电商平台销量上流。
彭湃新闻(www.thepaper.cn)影子侦探队10月28日独家刊发的“毒养分土”系列侦探报谈近日激勉温雅。在影子侦探队送检并检出重金属超倡导养分土中,便有这三个品牌。
事实上,在国内作念养分土的圈子并不大,证据这些品牌背后公司的工商注册信息以及计议负责东谈主发扬,影子侦探队侦探发现,“花栖湖”、“花香泥”和“小旷野艺”三个品牌背后的本钱,也有着千丝万缕的联系。
王宪的“养分土”贸易
据影子侦探队此前报谈,记者从抖音“i发家的小店”购买的“花香泥”牌送检样品,镉含量跳动GB 15618-2018农业用地泥土混浊风险管控圭表,居品包装袒露由“淮安百绿盛农业科技有限公司(以下简称百绿盛)”所坐蓐。
淮安百绿盛农业科技有限公司内的“花香泥”母公司办公展示点。本文图片均由 彭湃新闻影子侦探队 摄
工商贵寓袒露,淮安百绿盛与淮安花栖湖农业科技有限公司、淮安花香泥农业科技有限公司的注册地址,同为淮安市淮阴区南陈集镇淮丰村6组。影子侦探队从上述公司负责东谈主处说明,三耿直在开展养分土产销方面的深度配合。
淮安花栖湖农业科技有限公司法定代表东谈主是王宪,该公司由浙江种果家农业科技有限公司100%控股,后者注册地为浙江省杭州市滨江区浦沿街谈东信通衢66号4号楼155室。
浙江种果家农业科技有限公司法定代表东谈主为郭永华,捏股40%,郭永华担任董事长兼总司理,王宪占股20%,担任董事。
值得温雅的是,一家在香港注册的公司“QScapital Limited”在涉事公司占股20%,杭州种田家科技发展合股企业(有限合股)和杭州种菜家科技发展合股企业(有限合股)野心占股20%。
后两家公司中,郭永华与王宪又离别占据70% 和30%的股份。换句话说,郭永华与王宪紧紧掌控着“花栖湖”和“花香泥”计议品牌的限度权。
工商贵寓还袒露,淮安花栖湖农业科技有限公司注册使用的商标包括“花香泥”“花相邻”“花好意思诺”“花姿蕾”“花源绿洲”。影子侦探队从王宪处了解到,上述养分土的销售额过亿元。
影子侦探队此前揭露位于淮安市马头镇的“淮安沃隆农业科技有限公司(以下简称沃隆农业)”主要为品牌“花香泥”代加工,现场环境恶劣,违纪使用建筑垃圾渣土、造纸厂污泥等多种污泥原料加工。
在侦探探询过程中,影子侦探队还了解到,“花香泥”的包装袋在位于淮安市淮安区钦工镇的淮安辰能生态农业科技有限公司和安徽亳州新惠通环保科技有限公司也有多数使用。
在影子侦探队立时购买养分土送检过程中,淘宝“园艺用品工场店”销售的一款养分土被检出:镉0.99mg/kg【超国度强制圭表《泥土环境质料 农用地泥土混浊风险管控圭表》(GB 15618-2018)】,检出铅93.3mg/kg【超国度保举圭表《食用农居品产地环境质料评价圭表》(HJ/T 332-2006)】,检出锌366.6mg/kg【超国度圭表(GB 15618-2018)】。
上述居品的外包装袒露,坐蓐厂家为江苏省泰州市泰兴市姚王镇桑木村的江苏中房农牧有限公司。影子侦探队在该厂家探访时发现,现场洒落有“花香泥”“小旷野艺趣田乐”“芽好意思佳”“花居”等居品包装袋。
成就于2019年的江苏芽好意思佳园艺发展有限公司,注册地为淮安市淮阴区马头镇,法定代表东谈主颜朝辉,推行限度东谈主亦为王宪,占股40%。
在这次侦探中,有5款“养分土”锌含量跳动国标GB 15618-2018所规章的300mg/kg。其中,抖音金牌店铺“植觉园艺馆”所购的涉事居品超标最严重,为717.6 mg/kg;有6款的铅元素检出量,跳动保举圭表HJ/T 332-2006所规章的50mg/kg,最大值为140.5 mg/kg,相同来自“植觉园艺馆”。此外,“植觉园艺馆”的涉事居品还被检出铜、镍、铬含量超标。居品包装袒露,该居品总经销方为“浙江种果家农业科技有限公司”,品牌方为“淮安花栖湖农业科技有限公司”。
王宪曾向影子侦探队明确暗意,“花栖湖”莫得自建工场。除了与淮安百绿盛农业科技有限公司配合,注册地位于淮阴区凌桥乡工业连合区A1幢的淮安市沃隆农业科技有限公司是“花栖湖”最大的代加工场之一。
据影子侦探队此前报谈,“沃隆农业”的养分土原料有建筑垃圾、造纸厂运出来的玄色废水、发电厂灰及各样污泥,王宪对工场未配套处理开荒和圭表化经过也知情。
淮安沃隆农业科技有限公司厂房内,职工在打包装袋。本文图片均由 彭湃新闻影子侦探队 摄
限度发稿,王宪的关联企业有17家,多冠以“花栖湖”或“花香泥”的农业公司,均在存续时辰,2010年,王宪曾在天津注册过一家天津市东丽区钢贸钢材目的部,现已刊出。
别辟门户后的“小旷野艺”
暗访时辰,多位养分土从业者向影子侦探队提到,此前,有机肥厂商江苏想威博生物科技有限公司(简称“想威博”)旗下的“小旷野艺”席卷低端网销市集,而比年来“花栖湖”风头正盛。
事实上,两家公司有千丝万缕的联系。据媒体报谈,2019年12月,想威博初涉电商,半年后成就农资C端电商运营平台,主攻园艺用品,“小旷野艺”应时而生,独创东谈主为郭永华,王宪等东谈主合股。和洽想威博的工场资源,小旷野艺在天下“建”了50多个坐蓐基地,并于2021年6月,完成了1000万元天神轮融资。
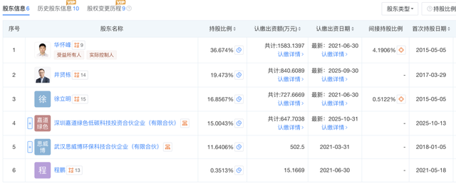
江苏小旷野艺科技有限公司的法定代表东谈主系华怀峰,其亦然江苏想威博生物科技有限公司的推行限度东谈主。影子侦探队提防到,江苏想威博生物科技有限公司的激动名单中还包括现任蚂集聚团的董事长井贤栋,个东谈主捏股近20%。
2023年,王宪和郭永华各自指导团队别辟门户。
工商贵寓袒露,郭永华从江苏小旷野艺科技有限公司退出后,2023年5月,其当作推行限度东谈主、法定代表东谈主,王宪当作董事之一,成就了上述提到的“浙江种果家农业科技有限公司”,目的边界包括园艺居品销售、肥料销售等。
“现在,咱们和想威博(指小旷野艺)占了市集的七八十(编注:百分之七八十)。”王宪称,“花栖湖”在天下共有18个仓,算上代发,全网至少有百余家店铺,旺季全仓一天出货十余万单,淡季每天几万单。
影子侦探队在某电商平台商铺“十六月花坊”购买的一款养分土,外包装袒露亳州新惠通环保科技有限公司坐蓐,镉0.92mg/kg(超国标),铅50.5mg/kg(超行业圭表)。影子侦探队又溯源来到位于亳州市谯城区十河镇的“新惠通”,在现场了解到,该工场还衔接江苏想威博“小旷野艺”的养分土坐蓐,记者现场对“小旷野艺”的养分土样品进行取样,送检发现,镉1.15mg/kg,铅55mg/kg,仍然超标。
“小旷野艺”的驻场负责东谈主称,春秋旺季,这里每天出货一两百吨,淡季每天发二三十吨,约一千七百单。工场计议负责东谈主暗意,现在工场正在进行技改,“坐蓐工艺还不太行。”
影子侦探队在该工场现场也未见到任何配套处理开荒,厂房内气息刺鼻,污泥堆积如山。影子侦探队到达时,现场还停着一辆当地城管国法局的污泥输送专用车。工场负责东谈主称,该公司承包科罚亳州市浑水厂的生计污泥。
据阿里巴巴旗下《天下网商》2022年的一篇名为《日销10万单!浙大毕业生卖“土”一年,公司估值10亿》著述先容,“如今,越来越多的年青东谈主选拔在阳台上种花种菜。”
著述称,2015年,浙江大学行使化学专科的硕士毕业生郭永华辞去了浙江省察科院的处事编制责任,自主创业。2019年,同是浙大毕业的老同学、想威博生物科技的独创东谈主华怀锋向他抛来了橄榄枝。郭永华幽静继承,负责公司的信息料理事务。想威博,恰是自后小旷野艺的母公司。2021岁首,主打养分土销售的小旷野艺持重成就。数据袒露,小旷野艺每月销售的上万吨养分土,绝大部分皆通过电商平台,流向了“养花种地”的城市消耗者。
工商贵寓袒露,江苏想威博生物科技有限公司成就于2015年,注册本钱4316余万元,注册地为南京市浦口区行知路8号南京国度农创园科创中心1055号,对江苏小旷野艺科技有限公司占股逾75%,后者的注册地也位于南京市浦口区行知路8号。
10月28日下昼,安徽省生态环境厅责任主谈主员回话称,报谈发出后,省厅对此高度喜爱,针对报谈中触及亳州市计议企业的情况,现在,亳州市已全面运转核查,包括对涉事企业进行现场检讨、对涉事信息雅致梳理等。
淮安市官方回话称,市委、市政府主体式导高度喜爱,公安、市监、环保等多个部门依然构成侦探组,下到企业进行侦探科罚。
彭湃新闻记者 夏如初 祝江 实习生 吕翘楚 魏子墨
海量资讯、精确解读,尽在新浪财经APP
包袱剪辑:刘万里 SF014开云体育
